在探索飞秒激光技术的领域中,钛蓝宝石(Ti:Sapphire)和掺镱(Yb)激光器的比较研究揭示了两种系统各自独特的优势和潜在应用。从最早的锁模激光器的诞生到现代全固态自锁模飞秒激光器的开发,技术进步推动了物理学研究的边界,到钛蓝宝石激光器在超快现象物理学研究中的革命性作用,再到掺镱晶体激光器因其高效率和低热负荷而受到的关注,通过对比这两种激光系统的技术原理、性能参数、适用性以及它们在市场上的地位,旨在为科研人员和工程师提供指导,帮助他们根据具体需求选择最合适的飞秒激光技术路径。
超短脉冲的产生是基于激光腔中多个纵模的锁相,当这些模式被锁在一起时,就会产生结构性干扰,从而导致短脉冲的产生。这些激光器就是所谓的锁模激光振荡器。自从1964年第一代锁模激光器[1,2]以来,发生了许多重大的变化。第一次主要的演变发生在70-80年代的,使用了飞秒染料激光器[3,4]:这是第二代锁模激光器。但是,也许最重要的进展与90年代初的突破有关,当时锁模激光器的出现了一种新的固体激光介质:钛掺杂蓝宝石[5,6]。这一事件标志着第三代飞秒激光器[7]的开始:全固态自锁模飞秒激光器。这种锁模飞秒激光与啁啾脉冲放大技术(CPA)[8,9]相结合的放大器系统,在参数性能、效率和功能性方面都有了很大的改进,彻底改变了超快现象的物理学研究。[10]
激光放大器的工作原理始于泵浦过程,通常需要一个强烈的连续波激光或另一个脉冲激光作为泵浦源。这个泵浦源用于激发增益介质(Ti:Sapphire/Yb晶体等)中的电子到更高的能级。当电子达到激发态后,它们会在一个低能量的飞秒脉冲通过晶体时释放能量,从而实现脉冲的放大。它们已经能够产生超短超高功率(高达1015W)脉冲,这与超高强度物理的开始和飞秒激光链应用的大规模扩展相对应。
飞秒激光放大器在选择增益介质时,通常会在钛宝石(Ti:Sa)和掺镱(Yb)材料之间权衡。各种产生超短脉冲的新型晶体带来的突破使超快激光技术及其应用发生了革命性的变化。第一次革命发生在90年代,开发出了第一台紧凑、高效、可靠的钛宝石全固态锁模激光器;第二次革命--特别是由于新的掺Yb晶体--涉及到非常高效的直接二极管泵浦的飞秒激光器的发展。这些新一代锁模激光器使应用得到了迅速扩展,因此引起了人们的极大关注。但对于这两种激光器如何选型可能还有不少疑问,在下文中我们将从技术原理,市场产品等角度对市场主流的两类飞秒激光放大器(Ti:Sa/Yb)分别进行介绍。
1.钛蓝宝石飞秒(Ti:Sapphire)
钛蓝宝石飞秒激光放大器,通常称作钛宝石飞秒激光器,用于放大极短的光脉冲能量。这种激光器利用钛掺杂的蓝宝石(Ti:Sapphire)晶体作为增益介质,掺钛蓝宝石(钛:蓝宝石)晶体具有优异的激光性能。我们可以很容易地处理钛宝石,因为它在湿度中高度稳定,由于足够的发射截面而适当地获得放大的高增益,并且还可以用于高能量放大器,因为它可以由于高导热系数而承载很大的热负载。然而,钛宝石最明显的特点是它是所有固体激光材料中最宽的增益带宽,可以提供足够宽的光谱来产生亚10飞秒的光脉冲。


钛:蓝宝石晶体
钛宝石放大器系统主要由几个部分组成:泵浦激光器提供必要的能量来激发钛宝石晶体产生初始飞秒脉冲,并作为放大过程的振荡器;脉冲展宽器在放大前扩展脉冲宽度以防晶体损伤;放大器本身包含钛宝石晶体,负责放大脉冲;最后,脉冲压缩器在放大后将脉冲压缩回其原始或更短的时长。
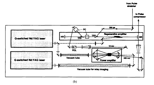
Ti蓝宝石飞秒脉冲的产生和啁啾脉冲再生放大实验结构图
FR为 Faraday 旋转器PC 为 PockelscelI 盒TFP 为薄膜偏振片[11]
钛宝石飞秒激光放大器的技术特点包括宽波长调谐范围、超短脉冲宽度以及高峰值功率。其波长通常可以调谐在700至1000纳米范围内,为了得到所需的脉冲宽度和能量,在后续放大过程中可以对脉冲进行精确的压缩和进一步放大。钛宝石飞秒激光放大器可以提供超高峰值功率,尽管其平均功率不一定很高,但它超短的脉冲宽度意味着在脉冲峰值时可以达到极高的功率,这对于非线性光学等应用尤为重要。
再生放大器系统、飞秒钛蓝宝石激光振荡器、展宽和压缩器的示意图。[12]
2.掺镱飞秒(Yb:KGW)
自90年代以来,钛蓝宝石晶体已经成为利用啁啾脉冲放大技术产生超短脉冲和超强脉冲的首选晶体。在这些发展导致商业产品的同时,人们也已经研究了新的激光晶体,以便直接达到其他波长范围,并克服开发连续或脉冲绿光激光器来泵浦钛蓝宝石晶体的需要。为了能够用非常高效、高功率的半导体激光器直接泵浦晶体,人们开发了掺Yb3+的新型晶体。掺Yb3+晶体是允许二极管泵浦的特殊晶体[13,14]。Yb3+具有良好的激光性能。首先,这种离子的低量子缺陷减少了热负荷,从而减少了热问题。其次,Yb3+中没有额外的寄生能级,避免了上转换、激发态吸收和浓度猝灭等不良效应。此外,相较于掺钕材料(也是用于高效二极管泵浦激光器的稀土离子掺杂材料),Yb掺杂材料展现出更为宽泛的发射光谱特性,这一优势使其在超快激光器的研发进程中更加具有吸引力。
以我们最常用的Yb:KGW晶体为例,它的增益带宽为~18 nm,可支持亚200fs的脉冲[15]。然而,由于放大器的增益变窄,从Yb:KGW再生放大器输出的脉冲通常被压缩到300-500飞秒[16]。为了获得更短的脉冲,已经开发了几种方法来扩展输出频谱(比如使用具有两个不同光轴的双Yb:KGW晶体)[17,18]。然而,这使得系统相当复杂和庞大。另一种策略是非线性放大,它通过自相位调制(SPM)来展宽光谱,以缓解增益窄化效应[19,20]。

Yb:YAG晶体和Yb:KGW晶体
Yb固体飞秒激光放大器与Ti宝石的结构类似,也是主要由振荡器、脉冲展宽器、再生放大器和光栅压缩器组成。区别在于掺Yb介质中的吸收带(如下图所示,范围为900-980 nm)被高功率InGaAs激光二极管覆盖。这使得直接二极管泵浦和高效紧凑型全固态激光器的开发成为可能。
Yb:YAG和Yb:CaLGO的发射光谱和吸收光谱[10]
Yb:KGW飞秒再生放大系统结合了钇铝石榴石掺杂钇(Yb:KGW)晶体的出色激光性能和再生放大技术的高效能量增益,由于其宽带宽和高效率的激光转换性能,成为飞秒激光系统中理想的增益介质。这种晶体不仅也支持极短的飞秒脉冲产生,还因其良好的热性能,在高功率激光放大时保持光束质量和系统稳定性。
在Yb:KGW飞秒再生放大系统中,脉冲在增益介质—Yb:KGW晶体的帮助下,在放大器腔内进行多次循环,每次循环都显著增加脉冲的能量,实现对单一脉冲能量的大幅提升。这一放大过程的结果是产生了具有极高峰值功率的飞秒脉冲,同时保持了极短的脉冲宽度和优良的光束质量。这种高性能的输出使Yb:KGW飞秒再生放大系统在需要精细控制和高重频的应用中成为了理想选择。
Yb:KGW固体飞秒激光放大器原理图[15]
3.二者参数对比各自优劣?
关于钛宝石和Yb激光的选择,更多的是从成本和市场成熟产品的角度来决定的,掺镱(Yb)材料的优势是高效率和低热负载:与钛宝石相比,掺镱增益介质(如Yb:YAG、Yb:KGW等)通常具有更高的光-光转换效率和更低的热负载。这使得Yb系统在高功率运行时更为稳定,且易于冷却。另外从泵浦源灵活性:掺镱材料可以被不同类型的泵浦源(如激光二极管)有效泵浦,而钛蓝宝石材料通常需要更专门的泵浦源(如绿光或紫外线激光器),由于激发波长波段在500 nm附近,所以很难用市场上销售的激光二极管直接激发。主要是钛:蓝宝石晶体的功率放大过程极其相关成本。大尺寸(直径100mm)掺杂钛蓝宝石晶体,成本非常高(60k EUR),交付时间非常长(>1年),并且目前的钛宝石激光器中,当泵浦波长为532 nm时,经验估计的阈值是10J/cm2,出于安全原因,激光器制造商将流畅度保守地设置为1J/cm2,低于损坏阈值(10J/cm2)的10倍111。该值对应于30%范围内的萃取效率,甚至低于钛宝石的饱和流度,不符合最佳功率放大条件。如此低的泵浦流畅性意味着放大过程中的提取效率低,并且极大地浪费了泵浦能量,而泵浦能量是钛宝石放大器中最昂贵的部分。此外,对于给定的输出提取能量,需要大约2倍的泵浦激光器。[21]
这就导致了Ti:Sapphire激光器如果要获得较高的平均功率,就需要有一个超高功率的激光泵浦源,会极大的增加系统的成本,另外当钛宝石激光器在高重频率下工作时,在热管理上也是一个非常大的问题,增益介质中的热负载显著增加,而钛宝石的热传导性相对较低,因此在高重复频率下有效地热管理和散热成为一个问题。过高的热负荷会导致晶体中的热透镜效应,从而影响激光输出的质量和稳定性,只能通过更换大尺寸的钛宝石晶体来解决,这再次增加了系统的成本。但对于大功率的钛宝石激光来说,除了价格还又有一个不得不考虑的现实问题——“禁运”。
参考美国商务部工业和安全局(Bureau of Industry and Security, BIS)发布的商务管制清单(Commerce Control List, CCL)。CCL详细列出了受出口控制的商品、软件和技术,每一项都有一个特定的出口控制分类号(Export Control Classification Number, ECCN)来描述该项并指示其许可要求。CCL被分为十大类别,每个类别进一步细分为五个产品组。针对激光器,最相关的类别可能是:《6. 传感器和激光》,这一类别涵盖了各种传感器和激光设备,包括高功率钛宝石激光器。

Commerce Control List·CATEGORY 6 - SENSORS AND LASERS》中关于540-975nm波段非”可调谐”脉冲激光器的具体出口限制要求如下:
B.4.输出波长超过540 nm但不超过800 nm,以及下列任何一种:b.4.a.。“脉冲持续时间”小于1 ps和下列任何一项:b.4.a.1。单脉冲输出能量超过0.005 J和“峰值功率”超过5GW;或b.4.a.2。“平均输出功率”超过20W;
B.5.输出波长超过800 nm但不超过975 nm,以及下列任何一种:b.5.a.。“脉冲持续时间”小于1ps和下列任一项:b.5.a.1。单脉冲输出能量超过0.005 J,“峰值功率”超过5GW;或b.a.2。“单横模”输出,“平均输出功率”超过20W;[22]
所以对于众多对脉冲宽度不敏感的应用来说,相同功率参数下采用Yb的光纤或固体激光方案可能会是更合适的选择,Yb系统在高重频操作中表现更好,具有更高的热导性和效率。如上图表格中的参数示例,对于市场需求量最大的10-20W飞秒激光器,基于国产化技术的镱镭Yb激光器HELIOS系列几乎是在除单脉冲能量和脉宽之外的所有参数表现上都要优于COHERENT的Ti宝石激光ASTRELLA系列,HELIOS系列拥有更高的平均功率、更高的重频调节范围、更低的售后成本和更小的设备尺寸。如果是有短脉冲需求,还可以配合MPC(HYPERION系列)在保证>90%的传输效率的前提下,将输出300fs左右的脉宽同样压缩到<50fs。另还有非常关键的一点就是,就算是高能量和高峰值功率的需求,从价格方面来说,使用HELIOS-HE系列搭配HYPERION-HE也可以满足mJ级的40fs输出,并且即使是二者搭配下来使用的市场价格也要比同样功率的Ti宝石系列更有优势。

飞秒Yb固体激光器Vs 传统Ti:sa飞秒固体激光器
此外,随着激光技术的发展,研究人员和工程师也一直在寻找、开发和测试其他类型的增益介质新的材料和配置,以克服这些限制并提供更多的性能选项。
4.市场需求是什么?分别适用于哪些应用领域?
除常见的钛宝石(Ti:Sapphire)和掺镱(Yb)材料之外,还有很多针对某些特殊应用的晶体材料,比如掺铒(Er)、掺钼(Mo)、掺钬(Ho)、掺铥(Tm)等。每种材料都有其独特的优势和局限性,适用于不同的应用场景。在选择某种材料晶体作为激光增益介质时,主要考虑因素包括脉冲宽度、输出功率、泵浦源的可用性和成本效益、以及特定应用的需求。
钛宝石晶体由于能产生更短的脉冲和更宽的调谐范围,在需要极高时间分辨率或超高峰值功率的应用中更受欢迎。
钛蓝宝石(Ti:sapphire)飞秒激光系统是当前实现TW(太瓦)至PW(拍瓦)级峰值功率的激光技术中最常用和最有效的方法之一。在这些系统中,通过应用各种脉冲的啁啾和压缩以及多级放大技术,从而大幅提高峰值功率。将初始的低功率激光脉冲放大到太瓦(TW)甚至拍瓦(PW)级的峰值功率。
种子光源(也称为激光种子源)是整个激光放大链的起始点,其性能直接影响到最终输出激光的质量和稳定性。这时钛宝石激光的高单脉冲能量和极短脉宽的特点就非常适合用来放大获得更高的峰值功率。这类系统依赖于钛蓝宝石晶体的宽带宽和高功率激光放大能力,结合先进的激光泵浦技术和光学设计,来实现极高的峰值功率。此时,脉冲具有极高的能量密度和极短的持续时间,被广泛应用于物理学研究、材料加工、医学治疗和军事等领域。

(A)太瓦飞秒Ti:Sapphire激光系统前端和压缩部分的布局。(B)系统的放大器部分。
用两个总能级为1.3J的同步商用调Q Nd:YAG激光器泵浦放大器,以增加输出能量。仅用两个Ti:Sapphire放大器,我们就获得了4x108的净增益。结果,产生了峰值功率为1.5TW、能量为230mJ、脉宽为150fs的激光脉冲。由于该激光器可以在10赫兹的重复频率下工作,因此也产生了2W的平均功率。[23]
而掺Yb的系统在同时需要高功率/高重频,但对能量要求不那么高的超快光谱学、动力学过程观测以及材料微纳加工的一些应用中更为合适。比如超快光谱学,它是一种研究物质在极短时间尺度上动态过程的技术,它能够揭示分子、原子乃至电子的快速动态变化。超快光谱学应用中的众多反应过程都是在ps/fs尺度发生,为了能够解析非常快速的过程,超快光谱学需要极短的脉冲宽度,也要在飞秒(10−15秒)级别,这样的脉冲宽度可以提供足够的时间分辨率,以观察和测量分子振动、电子转移等超快过程。这一过程通常对能量的要求并不严格,特别是在像一些生物样品和敏感材料的研究中,常规的μJ甚至nJ量级即可完成材料或成分的激发。适当的脉冲重复率有助于优化信号采集速率和热效应管理,对于提高实验效率和避免样品损伤非常关键,这就非常契合Yb激光系统的特点,根据不同的实验需求,Yb激光光源的脉冲重复率可以从kHz(千赫)到MHz(兆赫)不等,相比于钛宝石的常规kHz量级的重复频率,大大缩短采集时间,实验效率提升10倍不止。
宽带脉冲振动光谱的基频光(黑色,虚线),探测光(绿色)和泵浦光(橙色)波束路径的示意图实验设置。
SAP = 蓝宝石片 ND = 可变中性密度滤光器CM= 啁啾镜 WP =楔形棱镜。[24]
Yb激光系统因其高效率、低热负载以及与高功率InGaAs激光二极管的直接泵浦能力而显著突出。它的优势不仅在于能提供稳定的高功率输出,还在于其结构的紧凑性,这使得Yb激光系统成为实验室和工业应用的理想选择。特别是在需要长时间运行和高稳定性的应用中,Yb激光的独特性能允许它超越传统的钛蓝宝石激光,开辟了新的应用领域。未来,随着对激光性能要求的不断提高,Yb激光器有望在超快激光领域扮演更加重要的角色,推动科学研究和工业应用达到新的高度。因此,选择Yb激光系统不仅是对当前技术的投资,更是对未来潜力的把握,标志着我们进入了超快激光技术的新时代。
未来,随着新材料的开发和激光技术的进步,我们期待发现更多新的激光增益介质,这些新材料将在降低激光器成本的同时进一步提高飞秒激光系统的性能。此外,对现有系统的改进,例如通过增加泵浦效率、优化热管理或开发新的脉冲压缩技术,也将使得飞秒激光技术未来能在更广泛的应用领域中发挥作用。因此,持续的研究和创新是推动超快激光技术发展的关键,克服现有技术的限制,开拓激光技术的新境界!
参考文献:
{C}[1] {C}L.E Hargrove. R L. Fork, and M. A. Pollack. «Locking of He-Ne laser mode induced by synchronous intracavity modulation» Appl. Phys. Lett., Vol. 5, p. 4 (1964).
{C}[2] {C}M.DiDomemco, «Small-signal analysis of internal (coupling type) modulation of lasers» J. Appl. Phys., Vol. 35, p. 2870 (1964).
{C}[3] {C}R.L. Fork, B.I. Greene, C.V. Shank, «First CPM», Appl. Phys. Lett., 38(9), 671-672 (1981).
{C}[4] {C}J.A. Valdmanis, R.L. Fork, «prism CPM», IEEE J. Quantum Electron., 22, 112-118 (1986).
{C}[5] {C}P.F. Moulton, «Spectroscopic and Laser Characteristics of TiAl203»,J. Opt. Soc. Am. B, 3(1), 125-133 (1986).
{C}[6] {C}D.E. Spence, P.N. Kean, W. Sibbett, «60-fs Pulse Generation From a Self-mode-locked Ti-Sapphire Laser»,Opt. [Lett., 16, 42-44 (1991)
{C}[7] {C}F. Krausz, M.E. Fermann, T. Brabec, P. F. Curley, M. Hofer, M. H. Ober, C. Spielmann, E. Wintner, A. J. Schmidt, « Femtosecond Solid-State Lasers»‚IEEE J. Quantum Electron., 28, 2097-2121 (1992).
{C}[8] {C}D. Strickland, G. Mourou, «Compression of Amplified Chirped Optical Pulses», Opt. Commun., 55(6), 447-449 (1985).
{C}[9] {C}P. Maine , D. Strickland , P. Bado , M. Pessot , and G. Mourou , «Generation of ultrahigh peak power pulses by chirped pulse amplification» , IEEE J. Quantum. Electron., 398 403 ( 1988).
{C}[10] {C}Druon, F., et al. "New Yb-doped crystals for high-power and ultrashort lasers." Femtosecond Phenomena and Nonlinear Optics III. Vol. 6400. SPIE, 2006.
{C}[11] {C}赵尚弘, 王屹山, 陈国夫, 王贤华, 侯洵, 钛宝石飞秒激光脉冲的产生和高重复率放大及压缩实验研究, Science in China Series A-Mathematics (in Chinese), Volume 27, Issue 12, 1997, Pages 1136-1141, ISSN 1006-9232, https://doi.org/10.1360/za1997-27-12-1136.
{C}[12] {C}Zhang W, Teng H, Wang Z, Shen Z, Wei Z. Efficient amplification of a femtosecond Ti:sapphire laser with a ring regenerative amplifier. Appl Opt. 2013 Mar 1;52(7):1517-22. doi: 10.1364/AO.52.001517. PMID: 23458807.
{C}[13] {C}W. Krupke : «Ytterbium Solid-State Lasers – The first decade», IEEE Journal On Selected topics in Quant. Elec. , Vol. 6, No. 6, 1287-1296 (2000).
{C}[14] {C}L. DeLoach, S. Payne, L. Chase, L. Smith, W. Kway, W. Krupke : «Evaluation of absorption and emission properties of Yb3+-doped crystals for laser applications», IEEE J. Quant. Elec., Vol. 29, no. 4, pp. 1179-1091 (1984)
{C}[15] {C}Dongyu Yan, Bowen Liu, Yuxi Chu, Huanyu Song, Lu Chai, Minglie Hu, Chingyue Wang. Hybrid femtosecond laser system based on a Yb:KGW regenerative amplifier for NP polarization[J]. Chinese Optics Letters, 2019, 17(4): 041404
{C}[16] {C}H.-H. Liu, J. Nees, and G. Mourou, Opt. Lett. 27, 722 (2002).
{C}[17] {C}A. Buettner, U. Buenting, D. Wandt, J. Neumann, and D. Kracht,Opt. Express 18, 21973 (2010).
{C}[18] {C}G. H. Kim, J. Yang, S. A. Chizhov, E. G. Sall, A. V. Kulik, V. E.Yashin, D. S. Lee, and U. Kang, Opt. Express 20, 3434 (2012).
{C}[19] {C}J. Pouysegur, M. Delaigue, C. Hönninger, P. Georges, F. Druon, andE. Mottay, Opt. Express 22, 9414 (2014).
{C}[20] {C}J. Pouysegur, M. Delaigue, C. Hönninger, Y. Zaouter, P. Georges, F.Druon, and E. Mottay, IEEE J. Sel. Top. Quantum Electron. 21, 212(2015)
{C}[21] {C}Canova, F., et al. "Complete characterization of damage threshold in titanium doped sapphire crystals with nanosecond, picosecond, and femtosecond laser pulses." Laser-Induced Damage in Optical Materials: 2005. Vol. 5991. SPIE, 2006.
{C}[22] {C}Commerce Control List·CATEGORY 6 - SENSORS AND LASERS》Supplement No. 1 to Part 774 Export Administration Regulations Bureau of Industry and Security December 8, 2023
{C}[23] {C}S. Sartania, Z. Cheng, M. Lenzner, G. Tempea, Ch. Spielmann, F. Krausz, and K. Ferencz, "Generation of 0.1-TW 5-fs optical pulses at a 1-kHz repetition rate," Opt. Lett. 22, 1562-1564 (1997)
{C}[24] {C}Liebel M, Schnedermann C, Wende T, Kukura P. Principles and Applications of Broadband Impulsive Vibrational Spectroscopy. J Phys Chem A. 2015 Sep 10;119(36):9506-17. Epub 2015 Aug 31. PMID: 26262557.
智能助手